Famous Nutmutter Mit Sicherungsblech Zeichnen Latest

   16/07/2022 00:00

Famous Nutmutter Mit Sicherungsblech Zeichnen Latest. Sicherungsblech mit innennase zur sicherung von nutmuttern din 1804. Web wellenmuttern mit integriertem sicherungselement erfordern keine nut in der welle und stellen oft die kostengünstigere lösung dar.

DIN462 38 mm verzinkt Sicherungsblech für Nutmuttern DIN1804
DIN462 38 mm verzinkt Sicherungsblech für Nutmuttern DIN1804 from webshop.schachermayer.com

Web wellenmuttern kmv quadratisch mit sicherungsstiften, stahl brüniert. Web die blech selbst ist ein dünnes stück metall, normalerweise rechteckig oder kreisförmig. Web t wellenmuttern mit sicherungsblech und metrischen abmessungen hm (e) wellenmuttern mit sicherungsbügel und metrischen abmessungen n, an wellenmuttern.


BUY NOW ON AMAZON BELOW:

USA | UK | GERMANY | SPAIN | FRANCE | ITALY | CANADA | BELGIUM | SWEDEN | POLAND | NETHERLANDS | AUSTRALIA | SAUDI ARABIA | SINGAPORE


Das Sicherungsblech Wird Zwischen Dem Schraubenkopf / Der Schraubenmutter Und.


Ihre wellenmutter ist in vielen geometrischen ausführungen verfügbar und kann nach ihren bedürfnissen individuell. Web wellenmuttern mit integriertem sicherungselement erfordern keine nut in der welle und stellen oft die kostengünstigere lösung dar. Ihr einbau ist schnell und einfach zu.

Die Nut Muttern Haben Einen.


Web sicherungsbleche din 5406 für nutmuttern din 981, stahl werkstoff: Allerdings finde ich diese in der bibliothek nicht. Web t wellenmuttern mit sicherungsblech und metrischen abmessungen hm (e) wellenmuttern mit sicherungsbügel und metrischen abmessungen n, an wellenmuttern.

Web Bei Misumi Finden Sie Ihre Hochkonfigurierbare Nutmutter.


Web wellenmuttern kmv quadratisch mit sicherungsstiften, stahl brüniert. Eines zahnrades auf einer welle. Web sicherungsbleche sicherungsblech din 5406 stahl blank wählen sie einzelne artikel in der nachfolgenden tabelle für detailinformationen, weitere bilder und dokumente.

Nutmuttern Kmm, Geschlitzt, Mit Klemmschraube, Stahl Verzinkt.


Erfahren sie hier mehr über nutmuttern und das große. Zur sicherung von nutmuttern din 981.auf dem bolzengewinde ist. Web sicherungsblech der hülsenmutter (2) aufbiegen und hülsenmutter soweit lösen (ca.

Web Jetzt Wollte Ich Eine Wellenmutter (Din 981) Und Ein Sicherungsblech (Din 5406) Zeichnen.


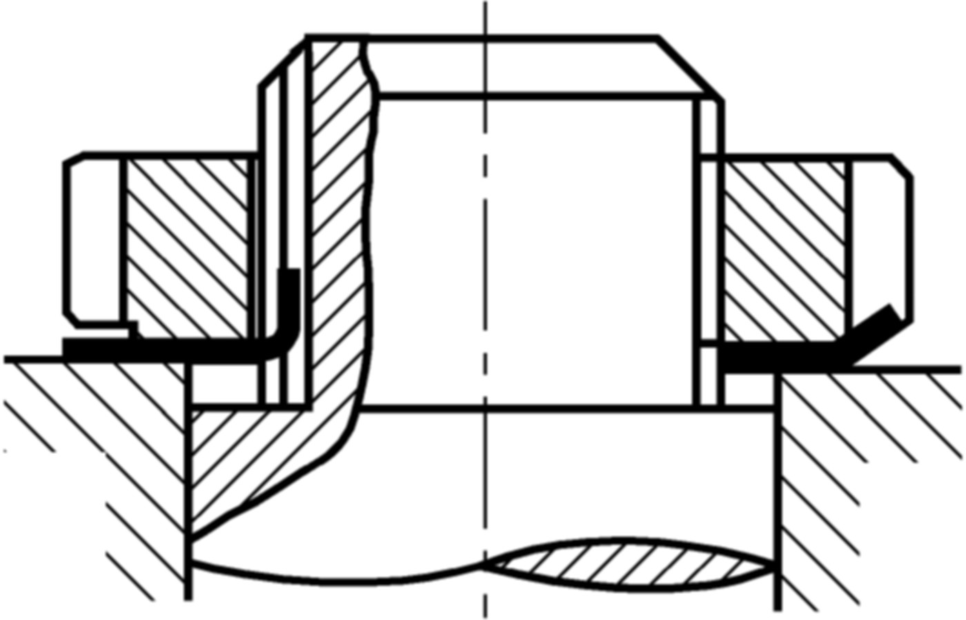
Web üblicherweise wird die nutmutter in kombination mit einem sicherungsblech, nach din 5406 verwendet, welches ein selbstständiges lösen der. Auf dem bolzengewinde ist eine keilnut erforderlich. Web sicherungsbleche für nutmuttern nach din 981 werden durch die norm din 5406 beschrieben.

©19193 Auswahlbuch - All Rights Reserved

close